SPH手动卧式测试台

联系我们

所属分类

  • 产品详情

一、功能:

SPH手动卧式测试架适配国产和进口NK、NKB、KLB等系列指针式推拉力计和SH系列数显式推拉力计作拉压负荷、插拔力测试等工作。


二、产品特点:

1、卧式安装;

2、手动操作,操作简单稳定;

3、可将本机架安装于桌(台)面使用,使机架更加稳固。


三、规格参数:

额定负荷:500N/1000N

有效行程:50mm

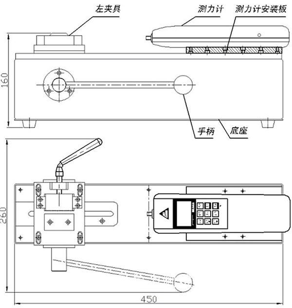
外形尺寸:450x260x160mm

净重:约10.5kg


尺寸图:

微信
咨询

加我微信
加我微信